企福科技园区有一家高新技术企业有53项专利,其中18项重复缴费,20多项未及时缴费产生滞纳金。综合统计,企业损失近80000元。在企福集团一次客户沙龙活动上,企福集团科创负责人宋丹丹和该企业负责人探讨了这个问题。企业负责人表示:“专利管理是我们企业的一个难题,但是缺乏专业管理人才,我们也很头疼。”

很多企业都存在这样的情况。专利授权后,需要每年向国家知识产权局缴纳年费。然而因专利年费计算复杂,企业又缺乏专利管理人员,导致常出现漏缴、错缴的情况。甚至因错过补缴期限而导致专利作废的重大损失!
企业申请一项发明专利需要2-3年的时间,成本为近万元。若企业专利授权拿到证书后出现漏缴,会产生滞纳金。过期1-2个月为总额的5%,过期3-4个月为15%,过期5-6个月25%。超过6个月还未缴纳年费,专利面临失效。这也意味着企业的产品、技术都将失去保护,企业损失将达到几万至几十万元不等。

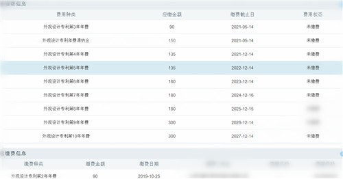
针对企业的专利管理痛点,企福集团为园区企业搭建了“企业专利数字化管理平台”,能够做到为企业可视化、自主化、数字化的专利管理。不仅做到年费的及时提醒、精确计算,还能够为企业提供一站式自主专利管理平台。
近期,企福科技园区“企业专利数字化管理平台”导入近600家企福科技园区企业的近3000项专利信息。通过平台检索发现,有90%以上的企业存在错缴、漏缴、重缴等问题。

“知识产权是企业的无形资产。随着专利质量和申报数量的提升,专利管理对科技企业将会越来越重要。企福科技园区‘企业专利数字化管理平台’主要就是为企福科技园区企业提供专项服务,希望通过这种方式,引起园区中小微科技企业对专利的重视,守好企业‘无形的安全门’。”企福集团科创服务负责人宋丹丹表示,“目前,我们已为科技企业打通了“知识产权申报——高新技术企业申报——挂牌上市/企业融资”完整的成长服务通道。如园区企业需要相关服务,企福集团科创服务团队可以提供专业的技术服务支持。”